質量穩(wěn)定:實行全過程質量監(jiān)控,細致入微,全方位檢測!
價格合理:高效內部成本控制,減少了開支,讓利于客戶!
交貨快捷:生產流水線,充足的備貨,縮短了交貨期!
傳真:0592-7152811
支持:13950155029
QQ : 35527467
郵箱:cnbgfm@foxmail.com
Y型波紋管截止閥的閥桿采用波紋管及填料雙重密封結構,確保閥桿處的無泄漏密封,特別適用于易燃、易爆、有毒及貴重介質的管路。波紋管采用不銹鋼或 Inconel材料制造,波紋管密封結構設計合理,耐疲勞,使用壽命長。
Y型波紋管截止閥的適用范圍:
波紋管截止閥廣泛適用于公稱壓力PN1.6~16MPa,工作溫度-29~350℃的石油、化工、制藥、化肥、電力行業(yè)等各種工況的管路上,切斷或接通管路介質。
Y型波紋管截止閥的用途:
石油化工、化纖紡織、塑料造紙、電力鋼鐵、印染橡膠、天然氣、電站、天然氣、氨、冷凍系統(tǒng)、熱油系統(tǒng)、熱水等其它氣體系統(tǒng)中,性能安全可靠,廣泛應用于乙二醇等工業(yè)流體。驅動方式有手動、齒輪傳動、電動、氣動等。 石油、化工、制藥、化肥、電力工業(yè)等各種工況的管路上,切斷或接通管路介質。
Y型波紋管截止閥的結構特點:
1.產品結構合理、密封可靠、性能優(yōu)良、造型美觀;
2.密封面堆焊Co基硬質合金、耐磨、耐腐、抗摩擦性能好、使用壽命長;
3.Y型波紋管截止閥閥桿調質及表面氮化處理,有良好的抗腐和抗摩擦性能;
4.Y型波紋管截止閥雙重密封,性能更可靠;
5.Y型波紋管截止閥閥桿升降位置指示,更直觀;
6.零件材質,法蘭和對焊編號尺寸可根據實際工況或用戶要求合理選配,滿足各種工程需要;
7.人體工程學設計手輪,使用壽命更長,操作輕松便捷,更安全可靠;
Y型波紋管截止閥主要外形尺寸:
1.6MPa主要外型及連接尺寸:
|
DN |
15 |
20 |
25 |
32 |
40 |
50 |
65 |
80 |
100 |
125 |
150 |
200 |
250 |
300 |
350 |
|
L |
130 |
150 |
160 |
180 |
200 |
230 |
290 |
310 |
350 |
400 |
480 |
600 |
730 |
850 |
980 |
|
H |
195 |
195 |
200 |
200 |
230 |
235 |
260 |
275 |
352 |
385 |
445 |
605 |
730 |
805 |
880 |
|
W |
120 |
140 |
140 |
180 |
200 |
220 |
260 |
280 |
300 |
340 |
400 |
450 |
450 |
500 |
500 |
|
Kg |
4 |
4.5 |
5 |
7 |
9 |
12.5 |
18 |
23 |
40 |
54 |
90 |
160 |
260 |
410 |
610 |
2.5 MPa主要外型及連接尺寸:
|
DN |
15 |
20 |
25 |
32 |
40 |
50 |
65 |
80 |
100 |
125 |
150 |
200 |
250 |
300 |
350 |
|
L |
130 |
150 |
160 |
180 |
200 |
230 |
290 |
310 |
350 |
400 |
480 |
600 |
730 |
850 |
980 |
|
H |
195 |
195 |
200 |
200 |
230 |
235 |
260 |
275 |
352 |
385 |
445 |
605 |
730 |
805 |
880 |
|
W |
120 |
140 |
140 |
180 |
200 |
220 |
260 |
280 |
300 |
340 |
400 |
450 |
450 |
500 |
500 |
|
Kg |
4 |
4.5 |
5 |
7.5 |
9.5 |
13 |
19 |
24 |
43 |
57 |
95 |
168 |
300 |
510 |
680 |
4.0 MPa主要外型及連接尺寸:
|
DN |
15 |
20 |
25 |
32 |
40 |
50 |
65 |
80 |
100 |
125 |
150 |
200 |
250 |
300 |
350 |
|
L |
2 |
150 |
160 |
180 |
200 |
230 |
290 |
310 |
350 |
400 |
480 |
600 |
730 |
850 |
980 |
|
H |
195 |
195 |
200 |
200 |
230 |
235 |
260 |
275 |
352 |
385 |
445 |
605 |
730 |
805 |
880 |
|
W |
120 |
140 |
140 |
180 |
200 |
220 |
260 |
280 |
300 |
340 |
400 |
450 |
450 |
500 |
500 |
|
Kg |
4 |
4.5 |
5 |
8 |
10 |
13.5 |
20 |
25 |
45 |
60 |
98 |
171 |
340 |
580 |
780 |
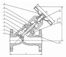
Y型波紋管截止閥的結構圖:

